Telehandler Axle
1.Two-stage deceleration, a variety of speed ratio matching, to meet the needs of different models.
2.Integrated drive-park system, wet braking, large and stable braking torque.
3.The overall swing frame design reduces the center of gravity of the vehicle, simplifies the installation of the frame, and improves the safety performance.
4.Limited-slip differential, forced differential lock, high passability in complex working conditions.
5.Modular design, flexible adjustment of the installation distance, rapid and efficient matching.
6.Suitable for telehandlers with a lifting capacity of 4 - 5 tons
Introduction:
Tailored for 4 - 5 ton telehandlers, this equipment boasts several advanced features. It utilizes a two - stage deceleration with assorted speed ratios to fit diverse models. The integrated drive - park system with wet braking offers large, stable torque. Its overall swing frame design cuts vehicle center of gravity, simplifies frame installation, and boosts safety. Equipped with a limited - slip differential and forced differential lock, it has high passability in complex conditions. Plus, the modular design enables flexible installation distance adjustment for rapid, efficient matching.
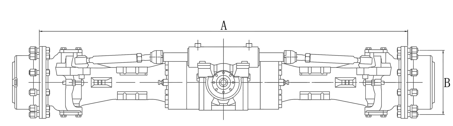
Main technical parameters:
Model | LTG27 | LTG32 | LTG43 |
A: Rim mounting distance(mm) | 1920、2050、2180 | 1950 | 1950 |
B:Rim mounting dimensions | 8-M18x1.5 on ø 275 | 10-M22x1.5 on ø 335 | 10-M22x1.5 on ø 335 |
Total ratio | 14.3-23.3 | 17.1-23.3 | 17.1-23.3 |
Max steering angle | 55° | 55° | 55° |
Brakes | Wet multi-disc | Wet multi-disc、 Service and parking | Wet multi-disc、 Service and parking |
Differential | Limited slip system Differential lock | Limited slip system Differential lock | Limited slip system Differential lock |
Maximum output torque (N.m) | 27000 | 32000 | 43000 |
Dynamic load (kg) | 8800 | 10500 | 12000 |
Static load (kg) | 22000 | 26250 | 30000 |
Lift capacity (kg) | 4000 | 4500 | 5000 |
Vehicle no-load mass (kg) | 8500 | 10500 | 12500 |




