Backhoe Loaders Axle
1. With a two-stage deceleration mechanism, it offers multiple speed ratio configurations, catering to the requirements of diverse models. 2. The hydraulic power steering system enables smooth and agile operation, enhancing maneuverability. 3. Constructed as an integral cast axle shell, it exhibits excellent rigidity, ensuring robust load-bearing capacity. 4. The vehicle's overall swing frame design lowers its center of gravity, streamlines frame installation, and significantly boosts safety.
Introduction:
This equipment is engineered to meet diverse model needs, featuring a two-stage deceleration system with multiple speed ratio options. Its hydraulic power steering ensures smooth and flexible operation, while the integral cast axle shell provides high rigidity for robust load-bearing. The overall swing frame design not only reduces the vehicle's center of gravity but also simplifies frame installation and enhances safety performance.
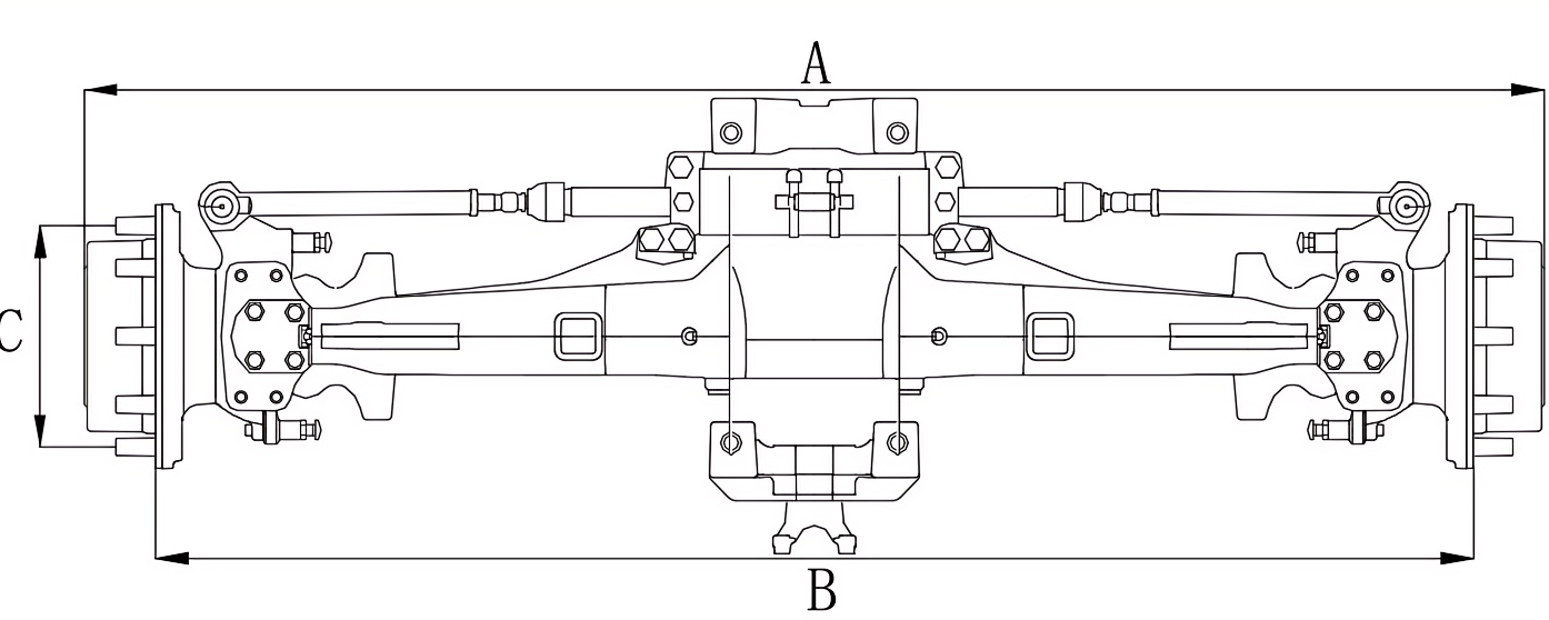
Main technical parameters:
Model | LTW32F | LTW43F |
A:overall length(mm) | 2150/2350 | 2150/2350 |
B: Rim mounting distance (mm) | 1900/2145 | 1900/2145 |
C: Rim mounting dimensions(mm) | 10-M22x1.5 on ø 335 | 10-M22x1.5 on ø 335 |
Total ratio | 19.04 | 19.038 |
Wheel ratio | 6.923 | 6.923 |
Max steering angle | 45° | 45° |
Maximum output torque (N.m) | 32000 | 43000 |
Dynamic load (kg) | 9000 | 10000 |
Static load (kg) | 22500 | 25000 |




