Telescopic Handler Axle
1. Two-stage deceleration, a variety of speed ratio matching, to meet the needs of different models.
2. Integrated drive-park system, wet braking, large and stable braking torque.
3. The overall swing frame design reduces the center of gravity of the vehicle, simplifies the installation of the frame, and improves the safety performance.
4. Limited-slip differential, forced differential lock, high passability in complex working conditions.
5. Modular design, flexible adjustment of the installation distance, rapid and efficient matching.
Introduction:
Designed for 4-5 ton telehandlers, this equipment incorporates multiple advanced features. It employs dual-range deceleration with multiple speed ratio options to accommodate various models. An integrated park-drive mechanism utilizing wet brakes delivers high, consistent torque. The unitary swing frame design lowers the vehicle's center of gravity, streamlines frame integration, and enhances safety. Featuring a limited-slip differential with a positive locking function, it provides enhanced mobility in challenging terrain. Additionally, the modular construction facilitates flexible installation distance adjustment for efficient and rapid matching.
Main technical parameters:
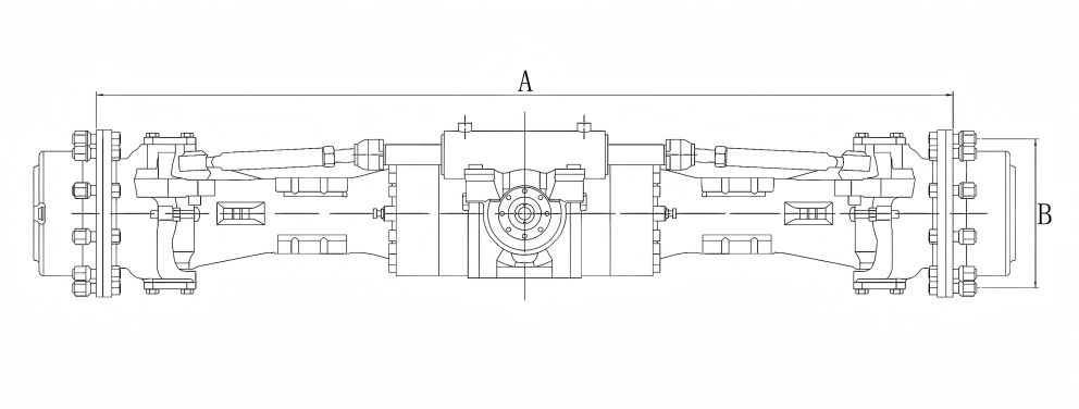
Model | LTG27 | LTG32 | LTG43 |
(A) Rim mounting distance (mm) | 1920、2050、2180 | 1950 | 1950 |
(B) Rim mounting dimensions (mm) | 8-M18x1.5 on ø 275 | 10-M22x1.5 on ø 335 | 10-M22x1.5 on ø 335 |
Total ratio | 14.3-23.3 | 17.1-23.3 | 17.1-23.3 |
Max steering angle | 55° | 55° | 55° |
Brakes | Wet multi-disc | Wet multi-disc、 Service and parking | Wet multi-disc、 Service and parking |
Differential | Limited slip system Differential lock | Limited slip system Differential lock | Limited slip system Differential lock |
Maximum output torque (N.m) | 27000 | 32000 | 43000 |
Dynamic load (kg) | 8800 | 10500 | 12000 |
Static load (kg) | 22000 | 26250 | 30000 |
Lift capacity (kg) | 4000 | 4500 | 5000 |
Vehicle no-load mass (kg) | 8500 | 10500 | 12500 |




